Home -> Magazines -> Issues -> Articles in this issue -> View
Lab Notes | |
Article from Polyphony, April 1976 | |
I just discovered Top Octave Dividers!
I know, they've been around for years.
I've had them in my "junk box" for years but thanks to a shove from Craig Anderton I finally got around to powering one up to see what it would do. Hey, surprise; you don't have to build organs out of them - they'll do some neat stuff too. You see, it's not that I don't like organs; though in all honesty they too often sound like they should be accompanied by thousands of whirling ball bearings. It's just that it always seemed like there wasn't a whole lot of imagination and creativity involved in taking a top octave chip, combining it with a crystal and liberal doses of dividers to come up with a musical instrument.

For those of you who have not yet been exposed to them, here is a top octave chip:
This particular one is called a 50240 and it's made by Mostek and AMI. They're a lot more expensive than they need to be but other than that they're OK.
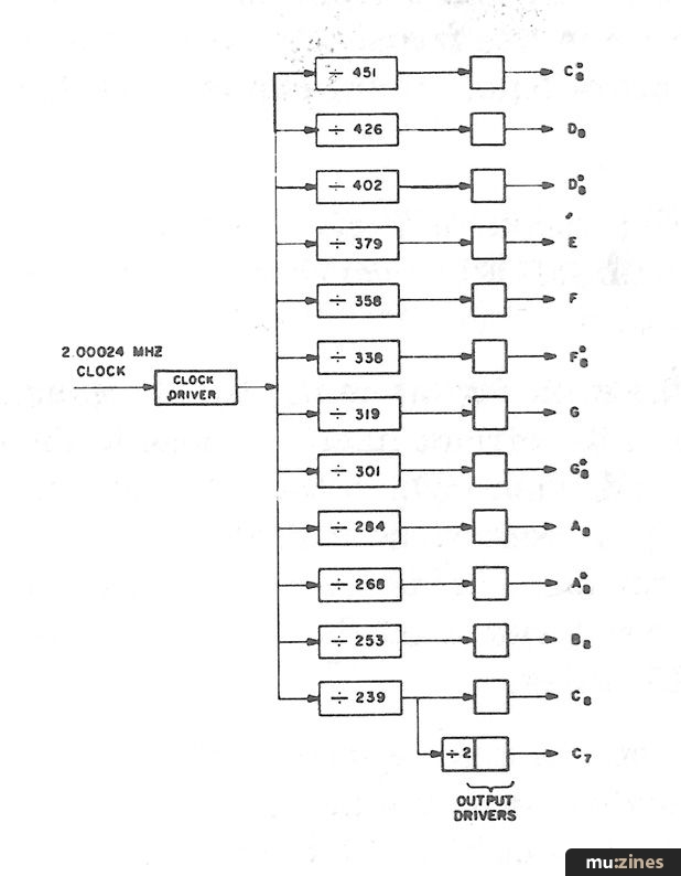
They're called "top-octave" dividers (or chips to pro's like you and me) because when you put a 2 mHz. clock frequency into the pin marked "CLOCK", a full octave (plus one note) of equally tempered semi-tones come flowing out of the rest of the pins. Oh yes, Yss and Vdd are where the power goes in (Ydd is ground, Vss is the positive supply point ).
The "top" part comes from the fact that with the recommended 2 mHz. clock frequency the highest note from the chip is C8 (about 8,389 Hz.) and the rest go down from there. If you're building an organ the normal procedure is to apply each semi-tone output to a string of bi-stables to get the corresponding note in the lower octaves. Then you use all the standard organ tricks of summing the square waves to get ramps or triangles or whatever before going through filters for harmonic control. And so on.

If you're interested in this sort of thing, and it is interesting the first time, American Micro-Systems, Inc. (AMI) used to put out a little pamphlet called "MOS MUSIC" which may or may not still be in print and which they may or may not send to you - depending, I think, on the phase of the moon and whether or not the month has an "r" in it. Be that as it may, if certainly wouldn't hurt to try.
American Micro-Systems, (Contact Details)
If you are building organs, these things are obviously something you would trade your sister for because all of the notes are derived (some ad men simply can't resist the temptation to say "computed" ) from a single reference frequency - there's no way that you can get just one note out of tune. If any one is right then the rest have to be right.
There are a couple of tricks to using these things that you would discover for yourself after working with them for a while, but why re-invent the wheel.
First, like most digital stuff, you are going to need to bypass the power supply to the circuit itself as close to the chip as possible. That means a .01 mfd. disk right at the Vdd and Vss pins. Unlike most other digital goodies, I recommend putting about a 5 mfd. electrolytic cap. in parallel with the disk. This larger capacitor de-couples tones that will otherwise be wandering around on the ground line waiting to spring out and cause difficulties.
Second, you can make simple organ type things just by closing switches to mixing resistors BUT, make sure that the switches close to a point that is about half of the top octave's supply voltage. If you don't, you will not only get square waves out but also the average value of the square wave which will be heard as an objectionable "thump" that will eventually drive you berserk. By closing to a point that is already at the average value of the waveform you eliminate this transition.
Last (and best of all) these chips are static, which means that you don't have to clock them at that 2 mHz. frequency if you don't want to. It should go without saying that the lower the clock frequency, the lower the pitch of the semi-tones will be that come out of the chip. But, thanks to pur old friend the equally tempered scale, the notes will all be chromatic no matter what the clock frequency.
These points are incorporated in this drawing of a simple 1 octave organ:

With this simple arrangement you may still notice some slight keying pops but they're not caused by DC level shifts, they come from bouncy switch contacts not switching the output waveforms cleanly on and off.
When you're through playing with that, you can re-arrange the parts like this:

and now you've got (for lack of a better name) a "chord box" with individual switches that select chords instead of single notes. You can make the chords as simple or complex as you wish but since you're working with a single octave of notes some of the chords you want will undoubtedly have to be done as inversions (as are F and G in the example ). This kind of thing would be slick in some sort of box that goes on the floor (like a pedal bass only for chords). This would make a nice kit if we had a source of foot switches. Maybe I'll start looking for some.
So, those kinds of things are alright, but they're not really breaking any new ground; they're pretty much what the manufacturers had in mind in the first place.
Here's something they didn't have in mind. Remember that I said that these chips are static and can be pumped by any sort of low frequency clock you want? Because of that you can turn a top octave chip into a pretty credible random voltage source just by lowering the clock frequency to a few hundred Hz. (or lower ). Changing the clock frequency is simply a matter of substituting a capacitor in the mfd. range for the pf. job shown in the second set of drawings. By the way, this capacitor must be non-polarized or if you don't happen to have a 10 mfd. or so non-polarized capacitor around a couple of back to back electrolytics will work. The top-octave pseudo-random voltage source looks like this:

To see why this works, assume that at some time t0 we turn on the chip and that at that time pins 14 and 15 of the chip are both high. After 239 clock cycles the voltage at pin 15 goes low and 14 cycles after that (at the 253rd cycle) pin 14 goes low. These two outputs will continue going high and low, apparently asynchronously until 239 X 253 (or a little over 65 thousand) clock cycles later when they will both simultaneously go high again. At a clock frequency of 200 Hz. it's going to be a little over 327 seconds before we get back to the starting point of both outputs transitioning high at the same instant. Throwing a third and fourth output into this mess gives another two terms to form the product so you can see that it's going to be a while before the cycle repeats. This is approximate, of course, because under most conditions the pattern will repeat in a period that is an integral division of what would appear to be the actual period; but, even then, it's a long time. The configuration that I've shown is one that I like but there are a lot of combinations of 13 things taken from 2 to 13 at a time, even when you throw out the combinations that are trivial. Any of you that are math buffs (as I am, a little) will really have fun with this.
I can see that I'm getting carried away - Marvin and Linda Kay will scream about the length of my copy - again.
Quickly, quickly — one more.
Environment machines, like our Surf Synthesizer, Wind and Wind Chimes are really my favorite kinds of products. Even I can work them since all you do is plug them in and let them do their thing. We're getting ready to do one (it's done, actually, but instructions take forever) that uses a top octave chip and is based on an idea originated by Craig Anderton called a "Chord Egg". It's a lot like the "chord box" thing that we looked at earlier except that it's got a random voltage source that provides 4 independent, control voltages to a like number of voltage controlled attenuators. The voltage controlled attenuators are in the lines going to the notes that make up a major 7th chord. It looks a lot like this:

and the idea is that as the random voltage sources change, the notes that you hear change - but slowly. And they are always notes that make up that major 7th spelling. This is a simplified drawing; the final unit also includes a circuit that randomly selects one of four chords: C7, Am7, G7 and/or F7. This has got to be the ultimate meditation machine; and I think that we'll be able to sell it for about $25.
Just one more, I promise.
We can't take the output of a VCO and use it directly as the clock signal for a top-octave chip (at least not with any useful result) but we can come up with a frequency multiplier built out of a phase locked loop and use that as the top octave clock like in this block diagram:

The result is that we have a complete octave of semi-tones tracking along with the VCO and we can pick those semi-tones up as intervals or complete chords. This sort of thing would have been prohibitively expensive 10 years ago when the only PLL's you found were in ground stations for satellite communications; but now that you can get them from just about any surplus house it's a different story. If you try to build one of these to play with you might get by with a 565 type PLL but you'll find the tracking range prohibitively small. A much better choice is an RCA 4046.
This is going to be a new product for us before too much longer - as soon as we decide how best to take advantage of the notes present. Do you have individual switches that allow you to select the notes (versatile, but a little expensive)? Are there 12 pots so that you can mix the notes that you want (more versatile, but really expensive)? Maybe about 8 buttons labeled something like "tonic, 3rd, 5th, 7th, major, minor," etc. I don't know. If you come up with any ideas I wish you'd share them with us.
If you want to play with top-octave chips we have an inexpensive experimenter's package that consists of a 50240 top-octave chip, CD4001 quad NOR gate and a circuit board that will mount both. You have to supply your own resistors and capacitors and stuff and the only instructions are recommended parts values for different things and circuit board parts parts placement. But it's a pretty good buy at $12.50 postpaid. That's about what you'd pay for the top-octave chip (if you can find someone who will sell you just one.)
* Since I wrote this column it has occurred to me - and been verified on the work bench - that there is a simpler way to go than the scheme shown in the block diagram. So - we're having a contest.
The first person who can correctly tell us why this drawing is more complicated than necessary will receive - absolutely free - the first of these tracking top octave gadgets that we produce.
We have on file a notarized statement of what we have in mind and it is in less than 25 words (so please don't send in any book length manuscripts on what's wrong with it). Send your entry to "JOHN'S CONTEST" c/o PAIA/POLYPHONY, (Contact Details).
The winner will be selected July 30th, 1976 and will be notified by mail. If you send a SASE (self-addressed, stamped envelope), we'll send you a copy of the notarized statement and the name of the winner. If your idea is better than what we had in mind we may kit it and if we do you'll be paid our standard royalty for undeveloped ideas.
* Plans are in the offing for a photo essay featuring photographs of our reader's systems. To have a photo of your system published in the next issue, send us a good, clear, BLACK AND WHITE GLOSSY photograph. We will publish as many as we can.
* SOUND SYSTEMS FOR USE WITH SYNTHESIZERS, outlining such subjects as speaker design, amplifier power and frequency response and a discussion of the difference between a live performance system and a studio monitor system.
* MUSIC NOTATION SYSTEMS - first of a series dealing with standard music notation and writing scores.
* ADDING MUTING FUNCTION TO THE PAIA 4740 ENVELOPE GENERATOR.
* MORE PATCHES, MODIFICATIONS and TRIVIA.
* A SUMMARY OF THE RESULTS FROM THE QUESTIONNAIRE.
The String Damper |
ICs for Electro-Music (Part 1) |
Workbench - STAGE LIGHTING INTERFACE BOARDS |
Add Muting, Decay/Release Isolation and/or End of Cycle Triggering to Your 4740 |
DIY Direct Inject Box - A high quality DI box circuit |
Projected Developments |
A Digitally Addressed Transposer - for Your Analog Keyboard or Sequencer |
Building A Bionic Sax |
An Ultra VCO From The 4720 |
Digital Sampler/Delay (Part 1) |
PA Signal Processor (Part 1) |
Modular Effects Rack Project (Part 1) |
Browse by Topic:
Feature by John Simonton
Previous article in this issue:
mu:zines is the result of thousands of hours of effort, and will require many thousands more going forward to reach our goals of getting all this content online.
If you value this resource, you can support this project - it really helps!
New issues that have been donated or scanned for us this month.
All donations and support are gratefully appreciated - thank you.
Do you have any of these magazine issues?
If so, and you can donate, lend or scan them to help complete our archive, please get in touch via the Contribute page - thanks!